大功率開爾文合金貼片電阻器 (LRF)

大功率開爾文四端子貼片電阻 (LRF)

德銘特電子擴展其表面安裝電流感測 (LRF) 系列,採用凱爾文 Kelvin 四端子連接晶片電阻設計,封裝在 1/2 W 和1 W 貼片大小。溫度係數 TCR 降低到 150ppm,並將阻值公差降低到 1%,,以提高量測精度。德銘特的 LRF0612 將阻值公差和低溫度係數 TCR 緊密結合於緊湊的 0612 尺寸,阻值小至 0.5mΩ,是高端電流採樣﹑取樣的首選。

LRF0612 採用相同的鎳銅或錳銅電阻元件,內置四端子設計為使用者提供了一個額外的優勢,提供兩個大電極端子管理電流和兩個小電極端子測量電壓。這 0612 凱爾文四端子貼片封裝尺寸設計,保持表面安裝結構的優越的電氣特性,耐脈衝,高精度。

凱爾文四端子貼片封裝結構,減少了系統性的誤差, 同時消除了系統校準的需要。此外,LRF 的低電阻值可最大限度地減少了多餘功耗,而其緊密的公差和低溫度係數 TCR,通過降低測量誤差或消除在製造現場中的校準需要來提高電路精度,從而降低成本和/或提高最終產品性能。

德銘特 LRF0612 適用於手機電源管理中的所有類型的分壓,電流檢測和脈衝應用;用於筆記本電腦的 VRM,用於服務器的 DC / DC 轉換器以及鋰離子電池管理和安全;工業儀表;和汽車電子控制,如音頻,傳輸,防抱死制動,和發動機。

像所有電流傳感芯片電阻一樣,LRF0612 採用全焊接結構,有助於實現卓越的電氣性能。專有的加工技術可產生 0.5mΩ 至 5mΩ 的極低電阻值,並具有1%,2% 和 5% 的嚴緊公差。德銘特 LRF 分流電阻系列完全符合 RoHS 無鉛標準。對於非標準參數要求和特殊應用,請聯繫我們以達成您的特定需求。

下載 PDF 版本: 貼片大功率開爾文合金電阻器 (LRF)。

特性
  1. 四端子開爾文設計,採用金屬條鎳鉻或錳銅合金電阻元件。耐用,全焊接結構。符合 RoHS 標準與無鉛電極銲端。
  2. 適用於所有類型的電流檢測,分壓和脈衝應用。專有的加工技術可產生 0.5mΩ 至 5mΩ 的極低電阻值。
  3. 塗裝:模塑化合物 UL-94 等級。
應用 :
  1. 汽車:電子控制(發動機和變速箱控制,音響電子,氣候控制,防抱死制動等)。
  2. 計算機:電源管理/安全,DC / DC轉換器,VRM,鋰離子電池管理。
  3. 工業:儀表,變頻空調。
  4. 電信:手機電源管理。
開爾文四端子貼片電阻結構 (LRF)
貼片開爾文四端子電阻結構 (LRF)
貼片開爾文四端子電阻結構 (LRF)

貼片四端子電阻尺寸 (單位: mm) (LRF)
四端子貼片電阻尺寸 (LRF)
(LRF) Kelvin 四端子貼片電阻尺寸 (單位: mm)
規格 額定功率 at 70℃ (W) 阻值範圍 (mΩ) L±0.2 (mm) W±0.25 (mm) H±0.2 (mm) T±0.25 (mm) A±0.13 (mm) B±0.13 (mm)
LRF0612 1/2 0.5~5 1.65 3.05 0.65 0.4 0.51 0.51
LRF0612 1 0.5~5 1.65 3.05 0.65 0.4 0.51 0.51
焊盤建議 (LRF)
焊盤建議 (LRF)
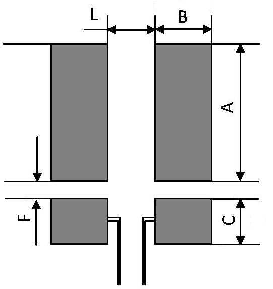
A: 電流連接; C: 電壓量測連接。
開爾文四端子貼片功率電阻 焊盤建議 (LRF)
規格 最大額定功率 (Watts: W) 阻值範圍 (mΩ) 尺寸 (mm ± 0.1)
A B C L F
LRF0612 1/2W, 1W 0.5 ~ 5 2.3 1.0 0.8 0.7 0.4
*PCB 銅箔最小厚度:3盎司。

電氣特性 (LRF)
規格 額定功率 at 70°C 最大工作電壓 (V) 阻值範圍 (mΩ) 溫度係數 TCR (ppm/°C) 阻值公差 (%) 工作溫度範圍 °C
LRF0612 1/2W, 1W (P x R)1/2 0.5mΩ ≤ R ≤ 3mΩ ±200 ±1%, ±2%, ±5% -55℃~+170℃
3mΩ ≤ R ≤ 5mΩ ±150
包裝數量 & 捲盤規格 (LRF)
捲盤規格
捲盤規格
規格 包裝數量 編帶寬度 捲盤直徑 ΦA (mm) ΦB (mm) ΦC (mm) W (mm) T (mm)
LRF0612 4,000 pcs 8 mm 7 inch 178.5±2.5 60.0±1.0 13.0±1.0 9.0±1.0 11.5±1

模壓帶規格 (LRF)
(LRF) 模壓帶規格
Low Ohm 4-Terminal Connection (LRF) Emboss Plastic Tape Specifications
規格 A (mm) B (mm) W (mm) E (mm) F (mm) P0 (mm) P1 (mm) P2 (mm) ΦD0 (mm) ΦD1 (mm) T (mm)
LRF0612 3.50±0.10 6.70±0.10 12.0±0.30 1.75±0.10 5.5±0.05 4.0±0.10 4.0±0.10 2.0±0.05 1.50±0.10 1.50±0.25 1.2±0.15
備註 : 1. 10 链轮孔间距的累积公差 ±0.2mm。
2. 載體倉不可超過 1mm 每 250mm 長度。
3. A&B 從包體的底部測量 0.3mm。
4. T 為從包體的內底部測量到載體的頂表面。
5. 相對於鏈輪孔和小口袋盒位置測量是以實際小口袋盒的位置,而不是小口袋盒孔。
降功耗曲線 (LRF)
四端子貼片功率電阻 (LRF) - 降功耗曲線
四端子貼片功率電阻 (LRF) - 降功耗曲線

焊接條件 (僅回流焊)
貼片功率四端子電阻 (LRF) - 焊接條件
貼片功率四端子電阻 (LRF) - 焊接條件 (僅回流焊)
項目 規格標準 測試條件
溫度系數 (T.C.R.)
As Spec.
IEC60115-1 4.8
JIS-C-5201-1 4.8
-55°C ~+125°C. (25°C 是參考溫度。)
短時間過負載 (Short Time Overload)
±1%
IEC60115-1 4.13
JIS-C-5201-1 4.13
5*最大過負荷電壓 5 秒。
絕緣性 (Insulation Resistance)
>100MΩ
IEC60115-1 4.6
JIS-C-5201-1 4.13
100V DC for 1 minute
負載壽命 (Endurance)
±2%
IEC60115-1 4.25
JIS-C-5201-1 4.25.1
70±2°C, RCWV 1.5 小時開 ,0.5 小時關 1000 小時。
防潮空載 (Moisture no Load)
±1%
IEC60115-1 4.24.2.1a
JIS-C-5201-1 4.24.2.1a
85°C, 85% RH, 1000 小時。
高溫暴露 (High Temperature Exposure)
±2%
IEC60115-1 4.23.2
JIS-C-5201-1 4.23.2
at +170°C for 1000 小時。
低溫儲藏 (Low Temperature Storage)
±1%
IEC-60115-1 4.23.4
JIS-C-5201-1 4.23.4
at-55°C for 1000 小時。
彎曲強度 (Bending Stength)
±1%
IEC-60115-1 4.33
JIS-C-5201-1 4.33
以 2mm 翹曲一次 5 秒鐘。
焊接性 (Solderability)
95% min coverage
IEC-60115-1 4.17
JIS-C-5201-1 4.17
245±5°C for 3 秒鐘。
耐焊溫度 (Resistance to Soldering Heat)
±0.5%
IEC-60115-1 4.18
JIS-C-5201-1 4.18
260±5°C, for 10 秒鐘。
耐熱性 (Thermal Shock)
±1%
IEC-60115-1 4.19
JIS-C-5201-1 4.19
-55°C ~ 155°C, 5 次循環。
  • 額定電壓 V = ( ( P * R )   或最大工作電壓) 兩數取其低。
  • 儲存溫度: (15 ~ 28)°C; 濕度 < 80%RH。
料號標識 (LRC)
LRF 0612 F TR F T 0m75 M
型號
LRF
尺寸 (L×W) (mm)
0612 1.65x3.05
阻值公差 (%)
J ±5%
G ±2%
F ±1%
包裝方式
TR Taping Reel
溫度系數 (PPM/°C)
K ±150PPM/°C
F ±200PPM/°C
額定功率 (W)
U 0.5W
T 1W
阻值 (Ω)Ex:
0m50 0.00050Ω
0m75 0.00075Ω
1m50 0.00150Ω
R005 0.00500Ω
標示
M MnCu 材料
  NiCu 材料