大功率开尔文合金贴片电阻器 (LRF)

大功率开尔文四端子贴片电阻 (LRF)

德铭特电子扩展其表面安装电流感测 (LRF) 系列,采用凯尔文 Kelvin 四端子连接晶片电阻设计,封装在 1/2 W 和1 W 贴片大小。温度系数 TCR 降低到 150ppm,并将阻值公差降低到 1%,,以提高量测精度。德铭特的 LRF0612 将阻值公差和低温度系数 TCR 紧密结合于紧凑的 0612 尺寸,阻值小至 0.5mΩ,是高端电流采样﹑取样的首选。

LRF0612 采用相同的镍铜或锰铜电阻元件,内置四端子设计为使用者提供了一个额外的优势,提供两个大电极端子管理电流和两个小电极端子测量电压。这 0612 凯尔文四端子贴片封装尺寸设计,保持表面安装结构的优越的电气特性,耐脉冲,高精度。

凯尔文四端子贴片封装结构,减少了系统性的误差, 同时消除了系统校准的需要。此外,LRF 的低电阻值可最大限度地减少了多余功耗,而其紧密的公差和低温度系数 TCR,通过降低测量误差或消除在制造现场中的校准需要来提高电路精度,从而降低成本和/或提高最终产品性能。

德铭特 LRF0612 适用于手机电源管理中的所有类型的分压,电流检测和脉冲应用;用于笔记本电脑的 VRM,用于服务器的 DC / DC 转换器以及锂离子电池管理和安全;工业仪表;和汽车电子控制,如音频,传输,防抱死制动,和发动机。

像所有电流传感芯片电阻一样,LRF0612 采用全焊接结构,有助于实现卓越的电气性能。专有的加工技术可产生 0.5mΩ 至 5mΩ 的极低电阻值,并具有1%,2% 和 5% 的严紧公差。德铭特 LRF 分流电阻系列完全符合 RoHS 无铅标准。对于非标准参数要求和特殊应用,请联系我们以达成您的特定需求。

下载 PDF 版本: 贴片大功率开尔文合金电阻器 (LRF)。

特性
  1. 四端子开尔文设计,采用金属条镍铬或锰铜合金电阻元件。耐用,全焊接结构。符合 RoHS 标准与无铅电极銲端。
  2. 适用于所有类型的电流检测,分压和脉冲应用。专有的加工技术可产生 0.5mΩ 至 5mΩ 的极低电阻值。
  3. 涂装:模塑化合物 UL-94 等级。
应用 :
  1. 汽车:电子控制(发动机和变速箱控制,音响电子,气候控制,防抱死制动等)。
  2. 计算机:电源管理/安全,DC / DC转换器,VRM,锂离子电池管理。
  3. 工业:仪表,变频空调。
  4. 电信:手机电源管理。
开尔文四端子贴片电阻结构 (LRF)
贴片开尔文四端子电阻结构 (LRF)
贴片开尔文四端子电阻结构 (LRF)

贴片四端子电阻尺寸 (单位: mm) (LRF)
四端子贴片电阻尺寸 (LRF)
(LRF) Kelvin 四端子贴片电阻尺寸 (单位: mm)
规格 额定功率 at 70℃ (W) 阻值范围 (mΩ) L±0.2 (mm) W±0.25 (mm) H±0.2 (mm) T±0.25 (mm) A±0.13 (mm) B±0.13 (mm)
LRF0612 1/2 0.5~5 1.65 3.05 0.65 0.4 0.51 0.51
LRF0612 1 0.5~5 1.65 3.05 0.65 0.4 0.51 0.51
焊盘建议 (LRF)
焊盘建议 (LRF)
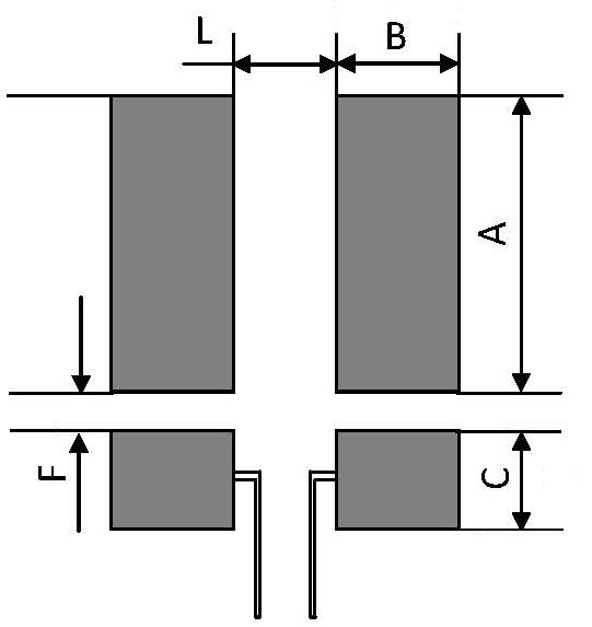
A: 电流连接; C: 电压量测连接。
开尔文四端子贴片功率电阻 焊盘建议 (LRF)
规格 最大额定功率 (Watts: W) 阻值范围 (mΩ) 尺寸 (mm ± 0.1)
A B C L F
LRF0612 1/2W, 1W 0.5 ~ 5 2.3 1.0 0.8 0.7 0.4
*PCB 铜箔最小厚度:3盎司。

电气特性 (LRF)
规格 额定功率 at 70°C 最大工作电压 (V) 阻值范围 (mΩ) 温度系数 TCR (ppm/°C) 阻值公差 (%) 工作温度范围 °C
LRF0612 1/2W, 1W (P x R)1/2 0.5mΩ ≤ R ≤ 3mΩ ±200 ±1%, ±2%, ±5% -55℃~+170℃
3mΩ ≤ R ≤ 5mΩ ±150
包装数量 & 卷盘规格 (LRF)
卷盘规格
卷盘规格
规格 包装数量 编带宽度 卷盘直径 ΦA (mm) ΦB (mm) ΦC (mm) W (mm) T (mm)
LRF0612 4,000 pcs 8 mm 7 inch 178.5±2.5 60.0±1.0 13.0±1.0 9.0±1.0 11.5±1

模压带规格 (LRF)
(LRF) 模压带规格
Low Ohm 4-Terminal Connection (LRF) Emboss Plastic Tape Specifications
规格 A (mm) B (mm) W (mm) E (mm) F (mm) P0 (mm) P1 (mm) P2 (mm) ΦD0 (mm) ΦD1 (mm) T (mm)
LRF0612 3.50±0.10 6.70±0.10 12.0±0.30 1.75±0.10 5.5±0.05 4.0±0.10 4.0±0.10 2.0±0.05 1.50±0.10 1.50±0.25 1.2±0.15
备注 : 1. 10 链轮孔间距的累积公差 ±0.2mm。
2. 载体仓不可超过 1mm 每 250mm 长度。
3. A&B 从包体的底部测量 0.3mm。
4. T 为从包体的内底部测量到载体的顶表面。
5. 相对于链轮孔和小口袋盒位置测量是以实际小口袋盒的位置,而不是小口袋盒孔。
降功耗曲线 (LRF)
四端子贴片功率电阻 (LRF) - 降功耗曲线
四端子贴片功率电阻 (LRF) - 降功耗曲线

焊接条件 (仅回流焊)
贴片功率四端子电阻 (LRF) - 焊接条件
贴片功率四端子电阻 (LRF) - 焊接条件 (仅回流焊)
项目 规格标准 测试条件
温度系数 (T.C.R.)
As Spec.
IEC60115-1 4.8
JIS-C-5201-1 4.8
-55°C ~+125°C. (25°C 是参考温度。)
短时间过负载 (Short Time Overload)
±1%
IEC60115-1 4.13
JIS-C-5201-1 4.13
5*最大过负荷电压 5 秒。
绝缘性 (Insulation Resistance)
>100MΩ
IEC60115-1 4.6
JIS-C-5201-1 4.13
100V DC for 1 minute
负载寿命 (Endurance)
±2%
IEC60115-1 4.25
JIS-C-5201-1 4.25.1
70±2°C, RCWV 1.5 小时开 ,0.5 小时关 1000 小时。
防潮空载 (Moisture no Load)
±1%
IEC60115-1 4.24.2.1a
JIS-C-5201-1 4.24.2.1a
85°C, 85% RH, 1000 小时。
高温暴露 (High Temperature Exposure)
±2%
IEC60115-1 4.23.2
JIS-C-5201-1 4.23.2
at +170°C for 1000 小时。
低温储藏 (Low Temperature Storage)
±1%
IEC-60115-1 4.23.4
JIS-C-5201-1 4.23.4
at-55°C for 1000 小时。
弯曲强度 (Bending Stength)
±1%
IEC-60115-1 4.33
JIS-C-5201-1 4.33
以 2mm 翘曲一次 5 秒钟。
焊接性 (Solderability)
95% min coverage
IEC-60115-1 4.17
JIS-C-5201-1 4.17
245±5°C for 3 秒钟。
耐焊温度 (Resistance to Soldering Heat)
±0.5%
IEC-60115-1 4.18
JIS-C-5201-1 4.18
260±5°C, for 10 秒钟。
耐热性 (Thermal Shock)
±1%
IEC-60115-1 4.19
JIS-C-5201-1 4.19
-55°C ~ 155°C, 5 次循环。
  • 额定电压 V = ( ( P * R )   或最大工作电压) 两数取其低。
  • 储存温度: (15 ~ 28)°C; 湿度 < 80%RH。
料号标识 (LRC)
LRF 0612 F TR F T 0m75 M
型号
LRF
尺寸 (L×W) (mm)
0612 1.65x3.05
阻值公差 (%)
J ±5%
G ±2%
F ±1%
包装方式
TR Taping Reel
温度系数 (PPM/°C)
K ±150PPM/°C
F ±200PPM/°C
额定功率 (W)
U 0.5W
T 1W
阻值 (Ω)Ex:
0m50 0.00050Ω
0m75 0.00075Ω
1m50 0.00150Ω
R005 0.00500Ω
标示
M MnCu 材料
  NiCu 材料